3 Octrooien
3.1 Inleiding
Met een octrooi word je eigenaar van jouw uitvinding.
Een octrooi is dus eigendom en daarmee kan je:
- anderen stoppen jouw uitvinding te gebruiken (exclusief gebruik), of
- anderen toestemming geven om jouw uitvinding te gebruiken.
Eigendom is per land via (inter-) nationale wet- en regelgeving vastgelegd. Dit geldt dus ook voor octrooien die immers onderdeel uitmaken van de industriële eigendomsrechten. Dit recht op een octrooi en het gebruik van de uitvinding is altijd afhankelijk van de wetgeving in het betreffende land.
De toepassing van een uitvinding is meestal niet alleen nuttig in een bepaald land, maar kan in vele landen nuttig worden gebruikt.
De wereld van uitvindingen is daarom multinationaal of wereldwijd.
Vanwege het wereldwijd gebruik van octrooien zijn er naast nationale wetten ook verscheidene belangrijke internationale verdragen. Deze worden geïntroduceerd in Octrooiwetten.
In daaropvolgende paragrafen worden de belangrijkste eigenschappen van octrooien behandeld.
Vanaf Inhoud octrooiaanvraag beschrijven we een uitgewerkt octrooi aan de hand van het algemeen voorbeeld (zie Een voorbeeld).
3.2 Octrooiwetten en verdragen
Ieder land heeft een eigen octrooiwet. Daarnaast zijn er verdragen voor regionale en internationale samenwerkingen. Een voorbeeld daarvan is het Europese Octrooiverdrag (EOV). Deze samenwerking zorgt ervoor dat de octrooiwetten van de 38 deelnemende landen geharmoniseerd zijn. Er is ook een wereldwijd verdrag voor een centrale wereldwijde octrooiaanvraag via de Wereldorganisatie voor de Intellectuele Eigendom (WIPO) (193 deelnemende landen).
- Het Nederlandse octrooirecht is vastgelegd in de Rijksoctrooiwet 1995 (ROW) Het Octrooicentrum Nederland verleent Nederlandse octrooien.
- Het Europese octrooirecht is vastgelegd in het Europees Octrooiverdrag (EOV). Een Europees octrooi wordt door het Europees Octrooibureau (EOB) verleend. Deze Europese octrooien worden door de aanvrager in gewenste deelnemende landen geregistreerd en zijn alleen in die landen geldig.
- De wereldwijde octrooiaanvraag is vastgelegd in de Patent Cooperation Treaty (PCT). Uit deze procedure komt echter geen verleend octrooi. Na deze centrale aanvraag gaat de octrooiaanvraag door naar de gewenste landen of regio’s.
3.3 Octrooirechten
Het octrooirecht regelt dat anderen de uitvinding niet commercieel mogen:
- maken,
- gebruiken,
- verkopen, of
- op voorraad mogen hebben.
Het octrooi is voor een periode van maximaal 20 jaar na de indieningsdatum van de octrooiaanvraag geldig.
De beperkingen die een octrooi uitoefent worden door de wetgeving van een betreffend land bepaald en kunnen dus sterk verschillen. Aan de andere kant zorgt het verdrag van Parijs (1883) voor harmonisatie.
In Europa beperkt een octrooi in het algemeen het commercieel maken, gebruiken, verkopen en op voorraad houden van de uitvinding, maar is het is wel toegestaan de uitvinding voor eigen gebruik (niet-commercieel) te gebruiken.
Je kan dus voor jezelf een Ferrari nabouwen, maar verkoop die niet aan je buurman, want dat is een commerciële handeling.
Het is onder voorwaarden ook toegestaan de uitvinding voor wetenschap en onderzoek te gebruiken, zonder vervolgd te worden voor inbreuk.
De rechtsgevolgen van een octrooi in Nederland staan beschreven in artikel 53 ROW.
Het octrooirecht kan niet meer worden gebruikt als de octrooihouder, of een ander met toestemming van de octrooihouder, het geoctrooieerde product heeft verkocht. Je mag dan met het geoctrooieerde product doen wat je wilt. Dit wordt uitputting genoemd. Dit is beschreven in artikel 53 lid 5 ROW.
3.4 Uitvindingen
Veel mensen hebben wel een beeld van wat een uitvinding is en wat uitvinders doen. Ze beschrijven dan een uitvinding bijvoorbeeld als een:
- nieuwe ontwikkeling,
- vaak ook technisch en
- meestal een verbetering ten opzichte van bestaande technieken.
In formeler jargon wordt een uitvinding dan vaak ook beschreven als een technische oplossing voor een probleem.
In beschrijvingen over het octrooirecht is een uitvinding echter niet gedefinieerd!
De wetgever definieert wat niet als uitvinding wordt gezien. Theorieën en wiskundige methoden zijn bijvoorbeeld geen uitvindingen en daarmee uitgesloten van octrooien.
Verder moet een uitvinding ook industrieel toepasbaar zijn. Deze eis van industriële toepasbaarheid bakent het octrooirecht af van andere intellectuele eigendomsrechten.
De definities en vereisten van nieuwheid en inventiviteit zorgen ervoor dat technische ontwikkelingen en uitvindingen alleen als octrooieerbare uitvinding kunnen worden beschouwd als ze nog niet bekend zijn gemaakt en niet voor de hand liggen.
Voor een beschrijving van de uitzonderingen en de basisvereisten, zie artikel 2 ROW, artikel 52 EOV of artikel 33(1) PCT.
3.5 Waaraan moet een octrooi voldoen
Er zijn vele vereisten waaraan een octrooi moet voldoen. Naast formele vereisten, zijn er inhoudelijke vereisten. Formele vereisten zijn nodig voor de juiste verwerking van de aanvraag. Het octrooibureau moet bijvoorbeeld contact met de aanvrager kunnen opnemen en de aanvraag moet in de juiste taal zijn geschreven.
Om een octrooi te krijgen zijn de belangrijkste inhoudelijke vereisten dat de uitvinding:
- nieuw,
- inventief,
- voldoende duidelijk beschreven moet zijn.
De uitvinding moet nieuw en inventief zijn, anders zou het octrooi niet bijdragen aan de algemene kennis en verbetering van de techniek. Het moet daarom ook duidelijk genoeg beschreven zijn.
3.5.1 Nieuwheid
Nieuw betekent dat de uitvinding niet eerder bekend is gemaakt. Om dit bepalen kan alle informatie worden gebruikt die openbaar toegankelijk is voor de vakman. Het is een objectief criterium, waarbij de vakman geacht wordt alle stand van de techniek te kennen.
Bij de beoordeling van nieuwheid (en inventiviteit) wordt alle informatie voor de indieningsdatum van de aanvraag meegenomen. Dit is de datum van eerste indiening: ‘first to file’.
Tot voor kort kende de Verenigde Staten een ander systeem: ‘first to invent’. Het moment waarop de uitvinder de uitvinding concipieert, was het moment van waaruit gerekend werd. Hoewel principieel juist, brengt dit allerlei problemen in bewijsvoering met zich mee als er conflicten ontstaan. Vandaar dat men in 2011 in de Verenigde Staten ook op het ‘first to file’-principe is overgestapt.
Documenten met een latere publicatiedatum dan de indieningsdatum kunnen niet de nieuwheid en ook niet de inventiviteit wegnemen.
Dus als niet alle eigenschappen van de uitvinding bekend zijn, is de uitvinding nieuw:
Een uitvinding wordt als nieuw beschouwd, indien zij geen deel uitmaakt van de stand van de techniek (zie ook artikel 4 lid 1 ROW, artikel 54 lid 1 EOV of artikel 33(2) PCT).
3.5.2 Stand van de techniek
De stand van de techniek is precies gedefinieerd in de octrooiwet:
De stand van de techniek wordt gevormd door al hetgeen voor de dag van indiening van de octrooiaanvrage openbaar toegankelijk is gemaakt door een schriftelijke of mondelinge beschrijving, door toepassing of op enige andere wijze (zie ook artikel 4 lid 2 ROW, artikel 54 lid 2 EOV of Regel 64 PCT).
Deze definitie bepaalt dat alle informatie, die op de wereld openbaar toegankelijk is, tot de stand van de techniek wordt gerekend. Dus ook de documenten in een kleine bibliotheek in een Chinees bergdorp. Een belangrijke beperking is dat de informatie openbaar toegankelijk moet zijn. Documentatie, zoals bijvoorbeeld technische tekeningen die in een bedrijf worden gebruikt, zijn normaal gesproken niet openbaar toegankelijk (wegens geheimhoudingsplicht). Deze documenten kunnen daardoor niet voor het beoordelen van de nieuwheid worden gebruikt.
De indieningsdatum is daarbij een belangrijke datum, want alles wat na deze datum openbaar is geworden heeft geen invloed op de octrooiaanvraag. Als dezelfde uitvinding op verschillende data wordt aangevraagd, dan heeft diegene die het eerste de aanvraag indient het recht op de uitvinding.
Iedere octrooiaanvraag wordt 18 maanden na de eerste indiening gepubliceerd. Het wordt daarmee ook een onderdeel van de stand van de techniek.
3.5.3 Inventief
Inventief zijn, betekent dat het voor de vakman niet voor de hand ligt om de verbetering of verandering, waarvoor bescherming wordt gevraagd, zo uit te voeren:
Een uitvinding wordt als het resultaat van uitvinderswerkzaamheid aangemerkt (=inventief), indien zij voor een deskundige niet op een voor de hand liggende wijze voortvloeit uit de stand van de techniek (zie ook artikel 6 ROW, artikel 56 EOV of artikel 33(3) PCT).
In de praktijk van de toetsing van octrooien betekent het niet inventief zijn, dat alle geclaimde eigenschappen bekend zijn uit een combinatie van twee uitvoeringen, beschreven in een of twee documenten. De vakman heeft daarbij ook een duidelijke aanwijzing om de twee uitvoeringen te combineren.
of
Als het enige verschil met een bekende uitvoering een voor de vakman voor de hand liggend alternatief is, dat hij op grond van zijn algemene kennis kent, dan wordt de uitvinding als niet inventief beschouwd. Bijvoorbeeld: Om iets op een muur op te hangen is een schroef een bekend alternatief voor een spijker.
3.5.4 Duidelijk en volledig
Bij een octrooi moet de uitvinding openbaar gemaakt worden. Dit moet op zo een wijze gedaan worden, dat het door de vakman kan worden uitgevoerd. Het is dus niet mogelijk om een octrooi te krijgen en je uitvinding geheim te houden. Zie ook artikel 25 lid 1 ROW, artikel 83 EOV en artikel 5 PCT.
Een perpetuum mobile is dan ook per definitie niet octrooieerbaar.1
Zaken die de vakman weet hoeven daarbij niet beschreven te worden. Bijvoorbeeld: Het is niet nodig om te beschrijven hoe iets moet worden vastgemaakt, als het voor de vakman duidelijk is dat het bijvoorbeeld kan worden gelast of gelijmd.
De vakman is gedefinieerd in het octrooirecht als kundige op het gebied van de uitvinding met brede vakkennis. De vakman kent alleen voor de hand liggende oplossingen voor problemen, maar kan zelf niet inventief worden.
3.6 Inhoud octrooiaanvraag
Een octrooiaanvraag bestaat uit de volgende onderdelen:
- Beschrijving
-
De beschrijving bestaat uit een inleiding en een gedeelte met ten minste één complete uitvoering van de uitvinding. In de inleiding wordt kort beschreven wat de bekende stand van de techniek is, welke probleem deze bekende stand van de techniek nog heeft en een korte beschrijving van de oplossing (de uitvinding) voor dit probleem.
- Claims (Conclusies in formeel Nederlands)
-
De claims definiëren de octrooibescherming. Deze claims zijn normaal als een set van claims opgezet. Er is een hoofdclaim en meerdere hiervan afhankelijke claims. De hoofdclaim biedt daarmee de grootste beschermingsomvang. De afhankelijke claims voegen verdere kenmerken toe en hebben daardoor een kleinere beschermingsomvang dan de hoofdclaim.
- Figuren
-
De figuren zijn er om de uitvinding te verduidelijken.
De claims bepalen de omvang en soort van bescherming. De juridische bescherming van het octrooi wordt dus bepaalt door de claims. De claims zijn daarom op een juridische manier geschreven.
Voor een maximale bescherming probeert men de uitvinding zo algemeen mogelijk te beschrijven in de claims. Maar als de uitvinding te algemeen wordt beschreven, dan is de kans groter dat het niet nieuw of niet inventief is.
3.7 Publicatie octrooiaanvraag
18 maanden na de eerste indiening wordt de octrooiaanvraag gepubliceerd. In figuur 6 is de voorkant van de publicatie van de aanvraag van het wasknijpervoorbeeld te zien. Na de voorpagina volgen de pagina’s van de aanvraag zoals deze is ingediend. De hele publicatie is te zien in WO 01/31108.
Dit is de A publicatie (zie de A1 code in het publicatienummer WO 01/31108 A1). De A publicatie is de publicatie van de octrooiaanvraag. De volgende publicatie is de B publicatie. De B publicatie is de publicatie van het verleende octrooi.
Bilbiografische gegevens staan op de eerste pagina van de octrooipublicatie. De volgende gegevens zijn de meest interessante:
- Titel (Title, Titre)
-
geeft een snelle indicatie van de inhoud.
- Samenvatting (Abstract, Abrégé)
-
is een korte samenvatting van de inhoud.
- Figuur naast de samenvatting
-
is normaal een afbeelding uit de lijst met afbeeldingen die representatief voor de uitvinding is.
Andere gegevens zijn interessant om de juridische eigenschappen van het octrooidocument te controleren:
- Aanvrager (Applicant, Déposant)
-
is diegene die de octrooiaanvraag heeft ingediend en is normaal ook diegene die de octrooirechten bezit.
- Uitvinder (Inventor, Inventeur)
-
is een of zijn meerdere personen die significant hebben bijdragen aan de uitvinding. In het octrooirecht van de VS is de uitvinder diegene die de octrooirechten heeft, terwijl in andere landen dat de aanmelder is.
- Prioriteitsdatum (Priority date, Priorité)
-
is de datum van de eerste octrooiaanvraag waarvoor een prioriteit wordt gevraagd. De octrooirechten beginnen vanaf deze datum. In dit geval is er geen prioriteit aangevraagd. De Franse aanvraag (FR 2 777 917) was meer dan een jaar eerder (28-4-1998) aangevraagd en kon daarom niet meer als prioriteit gebruikt worden.
- Datum van de aanvraag (Filing date, Date de dépôt)
-
is de datum van indiening van de octrooiaanvraag.
- Aangewezen landen (Designated states, États désignés)
-
zijn de landen waarvoor octrooibescherming is gevraagd op het moment van indiening van de PCT aanvraag. De PCT procedure wordt gebruikt om een wereldwijde octrooiaanvraag te doen.
- Publicatie datum (Publication date, Date de la publication)
-
is de datum waarop de octrooiaanvraag is gepubliceerd. Het is vanaf deze datum zichtbaar voor iedereen. Voor deze datum was de aanvraag nog geheim.
Er zijn ook administratieve gegevens genoemd:
- Document nummer (Publication number, Numéro de publication)
-
is een uniek nummer om het octrooidocument te identificeren. Het geeft ook informatie over het type document. De eerste letters zijn een landcode. In dit geval WO, voor een PCT aanvraag. Andere codes zijn bijvoorbeeld EP voor de Europese procedure bij het Europees Octrooi Bureau (EOB), NL voor Nederland, US voor de Verenigde Staten, DE voor Duitsland, etc. Er is ook een kind code. In dit geval A1. Deze code wordt gebruikt voor een octrooiaanvraag met search report. Als een octrooi wordt verleend, dan wordt vaak een B code gebruikt.
- Aanvraag nummer (Application number, Numéro de la demande)
-
is een nummer dat de aanvraag krijgt wanneer het wordt ingediend.
Er staan ook classificatiecodes op het document. Deze worden gebruikt bij het zoeken.
3.8 Claims
De claims (conclusies in formeel Nederlands) bepalen de omvang van de bescherming van het octrooi. Meestal is er een hoofdclaim met meerdere afhankelijke claims. De afhankelijke claims definiëren verdere kenmerken van de uitvinding.
De functie van de afhankelijke claims is specifiekere claims te hebben in het geval de hoofdclaim niet stand houdt in de toetsing van de octrooiaanvraag of bij een rechtszaak.
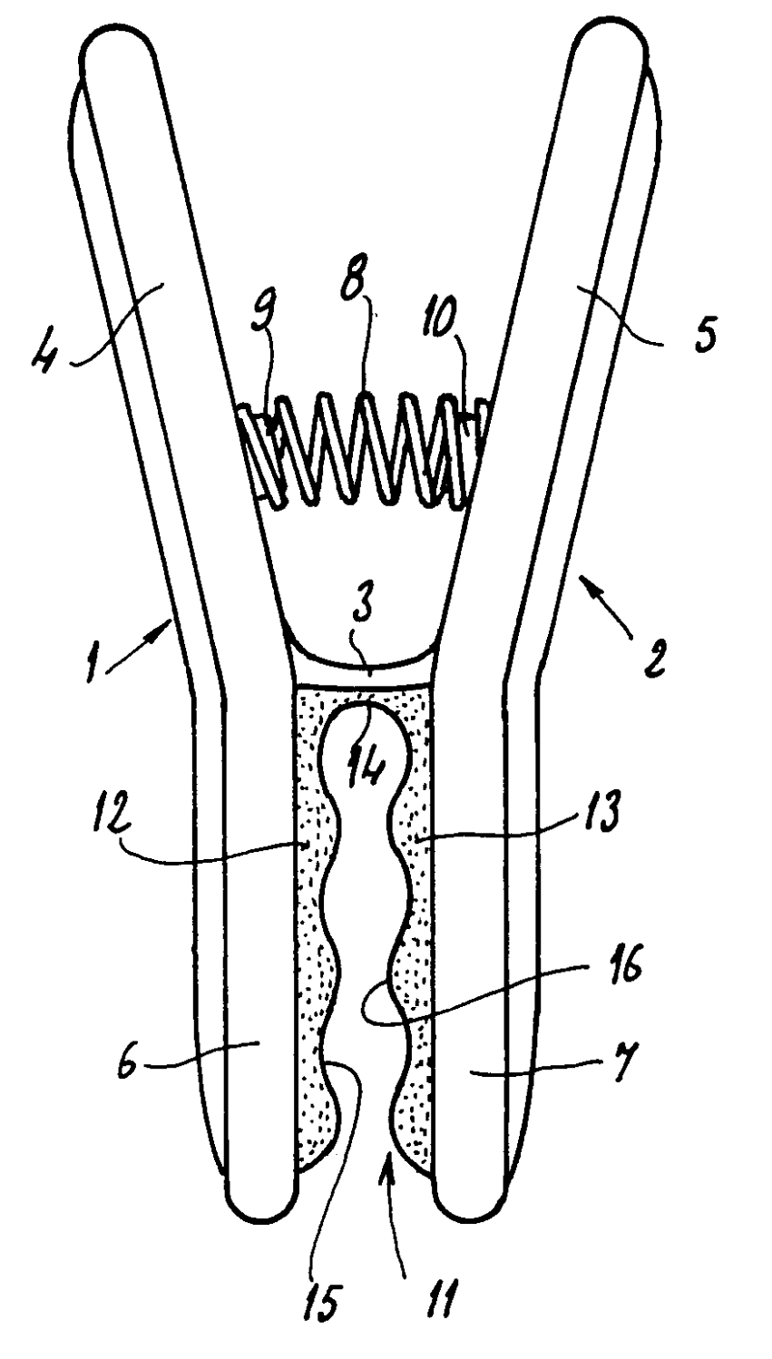
3.8.1 Claim van het wasknijper voorbeeld
De hoofdclaim van het wasknijper voorbeeld ziet er (vertaald) uit als volgt (de nummers achter de woorden verwijzen naar onderdelen in de tekeningen; zie figuur 7):
Clothes peg, consisting essentially of two legs (1, 2) each having an anterior part (6, 7) forming a jaw, situated facing the corresponding jaw of the other leg, characterized in that the parts forming jaws of the two legs (1, 2), made of a relatively hard material, are lined internally with a covering (11; 17, 18) made of a relatively flexible material, provided so as to form the surface (15, 16; 19, 20) contacting the clothes.
De taal in de claim is een stuk ingewikkelder dan de taal die je normaal zou kunnen gebruiken om de uitvinding te beschrijven. De uitvinding is ook te beschrijven als:
Wasknijper met zacht materiaal waar de de knijper de was raakt.
Een reden voor deze ingewikkelde taal in claims is dat de tekst een juridische tekst is. De uitvinding moet juridisch duidelijk beschreven worden. Als je bijvoorbeeld schrijft dat het zachte materiaal daar aanwezig is waar de was wordt aangeraakt, dan is dat juridisch niet duidelijk genoeg. Een wasknijper die op tafel ligt raakt helemaal geen was aan. Het uitsluitende recht van het octrooi wil je bijvoorbeeld niet alleen gebruiken voor wasknijpers waarmee de was is opgehangen, maar ook voor diezelfde wasknijper die in de winkel te koop is!
Een andere reden voor het taalgebruik is dat de octrooihouder een zo groot mogelijke beschermingsomvang wenst. Uitvoeringen van de uitvinding die verschillen in niet voor de uitvinding belangrijke kenmerken wil de octrooihouder ook graag onder de beschermingsomvang laten vallen. In figuur 7 zijn drie uitvoeringen van de wasknijper te zien, waarbij ze alle drie onder de beschermingsomvang van de claim vallen. De drie uitvoeringen verschillen niet alleen in het soort knijper maar ook hoe het zachte materiaal aan de knijper zit.
3.8.2 Test voor nieuwheid
Zoals eerder genoemd, moet een octrooi nieuw zijn. In het search report in de publicatie van de octrooiaanvraag in WO 01/31108, is te zien dat er meerdere documenten als stand van de techniek zijn geciteerd. Het search report, rapport van het onderzoek naar de stand van de techniek genoemd in formeel Nederlands, wordt door de examiner gebruikt voor de toetsing van nieuwheid en inventiviteit van de octrooiaanvraag. Vele van deze documenten worden als schadelijk voor de nieuwheid van de geclaimde wasknijper in de octrooiaanvraag gezien.
Hieronder wordt gedemonstreerd hoe het bepalen van de nieuwheid kan worden uitgevoerd. Het begint met het opdelen van de claim in afzonderlijke kenmerken. Daarna wordt bepaald of deze kenmerken gezamenlijk bekend zijn in een document van de stand van de techniek. Voor deze oefening wordt het eerste document met een X in de categorie in het search report gebruikt. Dit document met nummer FR 2 555 620 is in FR 2 555 620 te vinden.
Probeer zelf het antwoord te vinden voordat je het antwoord bekijkt.
| Kenmerken claim 1 van de octrooiaanvraag | Waar te zien in FR 2 555 620? |
|---|---|
| Clothes peg | |
| consisting essentially of two legs | |
| each having an anterior part forming a jaw and situated facing the corresponding jaw of the other leg | |
| the parts forming jaws of the two legs are made of a relatively hard material | |
| and are lined internally with a covering made of a relatively flexible material | |
| so as to form the surface contacting the clothes. |
Je kan dus alle kenmerken van de octrooiaanvraag in het document aanwijzen. Daarmee heb je aangetoond dat de wasknijper zoals geclaimd bekend is uit dit document. De wasknijper zoals geclaimd is daarom niet nieuw.
3.9 Procedures octrooiaanvraag
Octrooien kunnen in verschillende landen, maar ook regionaal worden aangevraagd. In Europa kan een Europees octrooi worden aangevraagd bij het Europees Octrooibureau (EOB). Een wereldwijde octrooiaanvraag kan via de PCT procedure worden aangevraagd bij het WIPO.
Deze verschillende procedures voor aanvraag van een octrooi hebben grote overeenkomsten, maar ze zijn niet hetzelfde. Daarom worden hieronder de verschillende procedures beknopt beschreven. Als laatste worden de gekozen procedures van het voorbeeld beschreven.
3.9.1 EP octrooiaanvraag
Als eerste wordt de procedure voor een octrooiaanvraag voor een Europees octrooi (EP) behandeld. Deze procedure is vergelijkbaar met de procedure voor een octrooiaanvraag in vele landen. In figuur 8 is een overzicht van de EP procedure weergegeven.
De aanvraag begint met de indiening van de aanvraag bij het octrooibureau. Het eerste inhoudelijke antwoord op de aanvraag is een search report. In het search report is de meest relevante stand van de techniek genoemd. Deze stand van de techniek wordt gebruikt bij de beoordeling van de vereisten. Deze beoordeling van de vereisten vind tijdens de toetsing plaats. Naast het search report wordt ook een schriftelijke opinie meegestuurd. In de schriftelijke opinie zijn eventuele bezwaren tegen de verlening opgeschreven. Niet nieuw zijn of een gebrek aan inventiviteit zijn de meest bekende bezwaren.
De aanvraag wordt 18 maanden na de eerste indieningsdatum gepubliceerd. Tot dit moment is de aanvraag geheim. Vanaf dit moment is de uitvinding in de hele wereld bekend.
Voordat het octrooi verleend wordt, wordt er eerst getoetst of de aanvraag aan alle voorwaarden voldoet. Indien niet aan alle voorwaarden voldaan is, wordt een brief geschreven door de examiner en naar de aanvrager gestuurd. In deze brief staan de bezwaren en dat de aanvraag dus niet verleend kan worden. De aanvrager heeft de mogelijkheid deze bezwaren weg te nemen door bijvoorbeeld de claims aan te passen. Deze ronde van bezwaren en wijzigingen kan meerdere keren plaats vinden. Eventueel kan er ook nog een mondelinge zitting plaats vinden om tot een besluit te kunnen komen.
Als er geen bezwaren zijn, dan wordt de aanvraag verleend. Er is ook de mogelijkheid dat de aanvraag wordt afgewezen als de bezwaren niet worden overkomen.
Na de verlening moet het octrooi in de gewenste landen in Europa worden gevalideerd bij de nationale octrooibureaus. Het Europese octrooi wordt dan dus een bundel nationale octrooien.
3.9.2 NL octrooiaanvraag
De Nederlandse procedure voor een octrooi is eenvoudiger dan bijvoorbeeld de Europese procedure. De Nederlandse procedure is weergegeven in figuur 9. Een vergelijkbare procedure wordt ook toegepast in andere landen, zoals bijvoorbeeld België.
Het grote verschil met bijvoorbeeld de EP procedure is dat er geen toetsing plaats vindt. De octrooien worden automatisch samen met de publicatie verleend. Dus ook octrooien die niet aan de vereisten voldoen. Met de gegevens van het search report en de bijbehorende schriftelijke opinie moet dan worden ingeschat in hoeverre de octrooihouder zijn octrooirechten kan uitoefenen. Een eventuele rechtszaak hierover geeft dan meer duidelijkheid.
3.9.3 PCT octrooiaanvraag
De PCT (Patent Cooperation Treaty) procedure, voor de wereldwijde octrooiaanvraag, is schematisch weergegeven in figuur 10. De enkele centrale aanvraag voor de meest relevante landen in de wereld is het voordeel van de PCT procedure ten opzichte van de nationale of regionale procedures.
Er zijn echter 2 kenmerken die een belangrijk verschil zijn met de andere procedures:
- De PCT procedure eindigt na 30 maanden. Er is dan geen verleend octrooi.
- De toetsing is optioneel.
De procedure om een octrooi te krijgen moet worden voortgezet in regionale of nationale procedures. Dus de PCT procedure is alleen het begin van de octrooiprocedure. De optionele toetsing is daarom ook geen besluit tot verlening of afwijzing, maar een opinie over de octrooieerbaarheid.
Het uitstel van de keuze van de gewenste landen en daarmee ook een uitstel van kosten is een reden waardoor veel voor de PCT procedure wordt gekozen. Verder hoeft er maar 1 keer voor een search report betaald te worden, omdat het search report uit de PCT fase in de latere nationale of regionale toetsing wordt gebruikt. Als in verschillende landen parallel zou worden aangevraagd, dan moeten deze kosten in al deze landen worden gemaakt.
De PCT procedure is daarom interessant als verwacht wordt dat octrooirechten in meerdere landen in verschillende regio’s gewenst zijn.
3.9.4 Prioriteitsjaar
Meestal kan pas na de ontvangst van het search report beoordeeld worden of het voortzetten van de aanvraag nut heeft. Daarom hebben de meeste landen de regel dat gedurende 1 jaar de prioriteit van een eerdere aanvraag uit een ander (of zelfde) land kan worden gebruikt. De aanvrager heeft dan een jaar de tijd om te bepalen in welke landen nog een octrooi gewenst is. De latere aanvraag krijgt dan de prioriteitsdatum van de eerdere aanvraag. Het is dan alsof de latere aanvraag toch op de eerdere datum is ingediend. (zie ook artikel 9 ROW, artikel 87 – 89 EOV of artikel 8 PCT).
Dit prioriteitsrecht kan ook voor regionale procedures zoals de EP procedure of voor de PCT procedure gebruikt worden. Het is dus mogelijk om in een land te beginnen met de octrooiaanvraag en dan binnen 1 jaar de wereldwijde aanvraag te doen. Je hebt dan de mogelijkheid om het nut van de octrooiaanvraag in te kunnen schatten voordat er grotere kosten gemaakt moeten worden.
3.9.5 Procedure van het wasknijper octrooi
In figuur 11 is een overzicht van de aanvraag van de wasknijper tot aan de verlening weergegeven.
De eerste octrooiaanvraag is in Frankrijk ingediend. Deze aanvraag is 18 maanden na de indiening gepubliceerd en verleend. In deze procedure was er geen toetsing en werd het octrooi automatisch verleend, net als in de huidige Nederlandse procedure.
Er is meer dan 1 jaar verstreken voordat de tweede octrooiaanvraag als PCT aanvraag is ingediend. De tweede aanvraag kon daardoor niet de prioriteit van de eerste aanvraag claimen. Meestal wordt de nationale aanvraag als prioriteit voor de tweede aanvraag gebruikt. De PCT procedure eindigt na 30 maanden.
Er is besloten om na de PCT fase door te gaan in de Europese (EP) procedure en in verschillende nationale procedures. De nationale procedures zijn in de Verenigde Staten (US), Japan (JP), China (CN), Canada (CA), Brazilië (BR) en Australië (AU). In deze landen is uiteindelijk ook het octrooi verleend.
In de EP procedure is het octrooi ook verleend. Het is daarna slechts in drie landen gevalideerd: Duitsland (DE), Spanje (ES) en Oostenrijk (AT).
Zoals te zien is, is er uiteindelijk een octrooi verleend in 10 landen. In dit geval, is alleen in de meest relevante landen voor productie of verkoop een octrooi aangevraagd. De kosten van een octrooi spelen ook een rol bij de keuze van de landen.
3.9.6 Verleende wasknijper octrooi
Uit het search report van de octrooiaanvraag van de wasknijper was duidelijk dat de geclaimde wasknijper niet nieuw was. Tijdens de toetsingen bij de verschillende octrooiprocedures, zijn de claims aangepast. De uiteindelijk verleende hoofdclaim in de EP procedure ziet er als volgt uit, waarbij de toegevoegde tekst cursief staat:
Clothes peg, consisting essentially of two legs (1, 2) each having an anterior part (6, 7) forming a jaw, situated facing the corresponding jaw of the other leg, and a posterior part (4, 5) forming a lever arm, the two legs (1, 2) being connected to each other, at an intermediate point of their length, by a thin web of material (3) acting as a hinge, characterized in that a helical spring (8) for returning to the closed position is mounted between the two legs (1, 2), while being positioned by its ends between two bosses respectively formed on the inner side of the posterior parts (4, 5) of the two legs (1, 2) respectively, while the parts forming jaws of the two legs (1, 2), made of a relatively hard material, are lined internally with a covering (11; 17, 18) made of a relatively flexible material, provided so as to form the surface (15, 16; 19, 20) contacting the clothes, this surface resulting from the inner faces of the said covering (11) possessing an undulating profile (15, 16), or from the relatively smooth inner faces (19, 20) of the said covering (17, 18).
Er zijn een aantal kenmerken aan de hoofdclaim toegevoegd. Met deze extra kenmerken is de geclaimde wasknijper nieuw en inventief geworden. Bij het behandelen van de claim in de octrooiaanvraag in paragraaf Claim van het wasknijper voorbeeld zijn drie uitvoeringen van de uitvinding weergegeven.
Welke van de drie uitvoeren vallen nog onder de beschermingsomvang van de hoofdclaim zoals verleend?
| Wasknijper uitvoering | Valt het onder de verleende claim? |
|---|---|
![]() |
|
![]() |
|
![]() |
Je ziet dat de beschermingsomvang van het verleende octrooi een stuk beperkt is ten opzichte van de octrooiaanvraag. Dat geeft ook het belang aan van de afhankelijke claims en van een voldoende uitvoerige beschrijving. De claims zijn dan aan te passen met extra kenmerken genoemd in de afhankelijke claims of de beschrijving. Daarmee worden de bezwaren tegen de verlening van het octrooi overkomen. Deze kenmerken moeten al in de octrooiaanvraag beschreven zijn, omdat deze niet later, na de indiening van de aanvraag, mogen worden toegevoegd.
3.9.7 Octrooifamilie
Uit het voorbeeld heb je gezien, dat vanuit een eerste octrooiaanvraag meerdere gelijke verleende octrooien in de verschillende landen zijn voortgekomen. Deze octrooiaanvragen en verleende octrooien hebben praktisch dezelfde inhoud. Ze zijn echter wel allemaal apart gepubliceerd.
De meeste van deze publicaties zijn in de octrooidatabanken opgenomen. Echter, als je gaat zoeken, dan wil je niet iedere publicatie met dezelfde inhoud apart zien. Dat is niet nuttig. Als je eentje hebt gezien, dan weet je ook de inhoud van de andere publicaties.
In de octrooidatabanken zijn de publicaties daarom per familie gegroepeerd. Een familie van octrooien is dus een verzameling van octrooiaanvragen en octrooien die dezelfde inhoud hebben. De groepering wordt automatisch uitgevoerd, waarbij de relatie met de eerste indiening wordt gebruikt om de documenten te groeperen. Dit kan echter soms niet correct zijn, als er een niet standaard procedure gevolgd is.
3.10 Na de verlening van het octrooi
Na de verlening van het octrooi is pas duidelijk wat precies de omvang van de octrooibescherming is. Daarom is het octrooi pas echt te gebruiken om anderen te stoppen als het octrooi verleend is. Het werk aan het octrooi en ook de kosten en zelfs risico’s zijn dan echter nog niet voorbij.
De volgende activiteiten vragen nog het nodige:
Pontentieel inbreuk op je octrooi moet je zelf ontdekken. Je moet dus goed opletten welke concurrent eventueel inbreuk maakt.
Het stoppen van een mogelijke inbreuk moet je ook zelf organiseren. Eerst de potentiële inbreuk pleger waarschuwen en misschien uiteindelijk een rechtszaak aanspannen. Een rechtszaak zal het nodige kosten. Daar zal rekening mee moeten worden gehouden bij beslissingen bij de te volgen strategie.
Ook als je octrooi verleend is, dan kan je deze nog verliezen. In de EP procedure is er nog een oppositie procedure mogelijk binnen 9 maanden na de verlening. Bij een oppositie procedure kunnen derden bezwaar maken tegen het verleende octrooi. Het kan dan gebeuren dat het octrooi alsnog wordt afgewezen. Het is ook mogelijk dat het octrooi moeten worden aangepast. Dit is vergelijkbaar met de toetsing voor het verlenen van het octrooi.
Het octrooi kan ook later via de rechter worden aangevallen door derden. Ook dan is het mogelijk dat het octrooi nietig wordt verklaard. Deze stap wordt meestal door derden genomen als ze beschuldigd worden van inbreuk.
Om ervoor te zorgen dat de octrooirechten niet onnodig lang blijven bestaan, moet er een jaarlijkse instandhouding worden betaald. Als er niet betaald wordt, dan vervalt het octrooi. Indien het octrooi niet genoeg economische waarde heeft, dan is het waarschijnlijk beter om het niet langer in stand te houden.
Uit het voorgaande wordt duidelijk dat de publicaties in de octrooidatabanken geen informatie over de status van een octrooi geven. Deze status moet in de octrooiregisters worden opgezocht. Ieder land heeft een eigen octrooiregister om deze status te administreren. Enkele links naar deze registers zijn in IE Databanken te vinden.


